蓝光发展的两台“隐形ATM” | 魅影②
扫描到手机,新闻随时看
扫一扫,用手机看文章
更加方便分享给朋友

编者按:信托、基金、AMC等非银机构,多年来一直隐身房企背后,扮演“金主”角色。“三道红线”之下,降负债、拓融资,成为房企当务之急,投资机构也在伺机掘金。就此,焦点财经特别推出《魅影》系列,穿透房企融资表象,照见金主隐秘身影。
作者 | 王泽红
出品 | 焦点财经
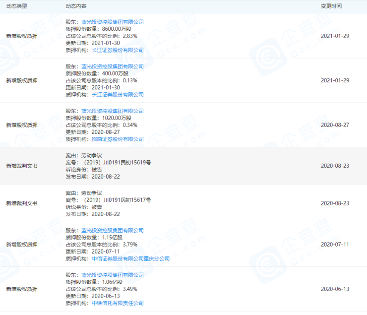
蓝光集团还在继续质押蓝光发展(600466.SZ)的股权。 近一个月内已连续发生2次,先后于2月8日、1月29日分别质押2500万股、9000万股。
此种操作,在过往的发展中发生过太多次,蓝光集团早已娴熟,单2020年就不少于7次。如果将时间线拉长,质押次数更多,据焦点财经不完全统计,自2016年以来不少于50次。
质押人几乎全部是蓝光集团,质押机构则多是证券公司和信托公司,如长江证券、招商证券、中信证券、中航信托、重庆国际信托、厦门国际信托和五矿国际信托等。

大股东质押超60%股权
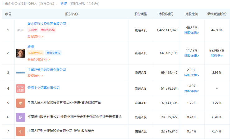
蓝光发展的大股东是蓝光集团,持股比例为46.86%;二股东是董事长杨铿,持股约11.45%。二者为一致行动人,共持有蓝光发展约58.31%股权(约17.696亿股)。

2月8日质押2500万股后,二者累计质押蓝光发展股份达8.78亿股(约28.94%股权),占其持有蓝光发展股份总数的49.64%,将近一半。
如果仅以蓝光集团质押股份数量来看,已经超过其持股比例的一半,达61.76%。

为了防范风险,金融机构对于质押的个股,一般都设有质押率、预警线、平仓线等。一般来讲,股权质押的预警线是借出本金的160%,平仓线是本金的140%。在市场急剧下跌的情况下,质押股票的市值急剧下降,股票质押将面临平仓风险。
蓝光发展称质押风险处于可控范围,若股价波动达到预警线时,蓝光集团将采取补充抵押物、追加保证金等措施应对上述风险;若质押股份出现平仓风险,蓝光集团将及时采取应对措施,不会导致公司实际控制权发生变更。
虽是如此,但蓝光发展的股权被频繁质押,且质押比例在持续攀升。有行业研究人士表示,股权质押对于房企的控股股东来说,大部分是融资需求,一般来说,与该企业的负债率有较大关系,即负债率较高的房企,股权质押的需求较高,承担的风险较大。
房地产企业是股权质押规模是较高的行业,有部分企业的股权质押比例曾超过50%,如海航基础、阳光城、新华联和泰禾集团等,都是高负债房企。
如今,海航集团正在破产重组;新华联深陷债务泥潭,实控人傅军频频被开出限制消费令;泰禾集团正在忙于债务重组,展开自救;华夏幸福虽没超50%,但也远超同行,正遭遇债务危机。
回看蓝光发展,股权质押比例也超过了大多数同行,同时面临降杠杆压力。按照房企融资的“三道红线”监管标准,蓝光发展踩线两条,净负债率为97.64%,剔除预收款后的资产负债率70.58%,现金短债比0.81,后两者均不达标,位列“橙档”范畴。
而在去年三季度前,其“三道红线”全不达标。如今变绿一条线,是其降杠杆的成果,但依然压力不小。
项目股东里的信托身影
信托的身影,除频繁出现在蓝光发展的股权质押机构名单中,也时常出现在其项目公司中。
在蓝光发展的子公司和联营合营公司中,有不少股东是金融机构,包括五矿信托、大业信托、中融信托、中铁信托、山东信托、国通信托、大业信托、百瑞信托、山西信托等。
焦点财经选取了7家项目公司,皆是2020年后半年以来,信托入股蓝光发展项目公司的案例。

济南蓝盛瑞远房地产,于2020年7月底成立,由蓝光发展持股1%,珠海万和锦华资产管理有限公司(简称“珠海万和锦华资管”)持股99%,而“珠海万和锦华资管”的背后,则是国投泰康信托。
成立俩个月后,该公司迅速投资“温州蓝榕置业有限公司”,使其注册资本从1000万”增加到2272.72万。温州蓝榕置业此前由蓝光发展全资控股,“济南蓝盛瑞远房地产”投资入股后持股约56%,蓝光发展持股约44%,并将其股权质押于“珠海万和锦华资管”。

在项目公司层面引入金融机构,并将股权进行质押,这在地产领域很常见,是房企融资的一种重要方式。蓝光发展也一样,在过往的发展中,这种融资痕迹很明显。
2019年,由蓝光发展间接全资控股企业的“昆明炀玖商贸有限公司”,对外投资“云南德商置业”,获得其50%股权。几个月后,“昆明炀玖商贸有限公司”迅速以47%股权引入中铁信托,注册资本从1000万增加到5000万。

据焦点财经了解,云南德商置业是德商集团旗下企业,与蓝光发展一样,德商也是一家四川房企,而云南德商置业是其布局云南的重要抓手,2019年该公司曾以9.14亿元拿下昆明市官渡区方旺片区的65亩住宅用地。
在蓝光发展携中铁信托入股云南德商置业后,这块地由蓝光发展和德商共同开发,名为“蓝光德商天域小区”,交房时间在2022年。
让信托机构入股子公司、联营合营公司进行融资,一般分为股权投资和债权投资。如果资金以正常的股权方式入资,则少数股东利润分配比例,应当与其持股比例相吻合;而如果是以“明股实债”入资的资金,则会以“本金+固定利息收益”的方式实现退出。
所以,当少数股东的收益占净利润比例,与其所占股权比例产生显著差别的时候,明股实债的可能性就开始升高。
截至2020年三季度末,蓝光发展归属于上市股东权益212.20亿,少数股东权益256.03亿,上市股东权益比少数股东权益低了不少,耐人寻味。
声明:本文由入驻焦点开放平台的作者撰写,除焦点官方账号外,观点仅代表作者本人,不代表焦点立场。
