深圳先进商管6.64亿元ABS获上交所受理
焦点财经Focus 2021-06-21 11:21:10
用手机看
扫描到手机,新闻随时看
扫一扫,用手机看文章
更加方便分享给朋友
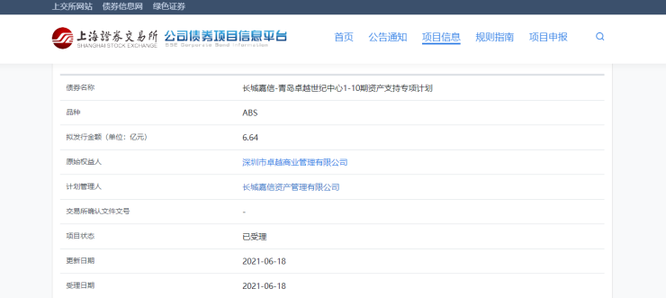
焦点财经讯 耿宸斐 6月18日,据上交所消息,长城嘉信-青岛先进世纪中心1-10期资产支持专项计划获上交所受理。 资料显示,该债券拟发行金额6.64亿元,原始权益人为深圳市先进商业管理有限公司,计划管理人为长城嘉信资产管理有限公司。
焦点财经讯 耿宸斐 6月18日,据上交所消息,长城嘉信-青岛先进世纪中心1-10期资产支持专项计划获上交所受理。
资料显示,该债券拟发行金额6.64亿元,原始权益人为深圳市先进商业管理有限公司,计划管理人为长城嘉信资产管理有限公司。

声明:本文由入驻焦点开放平台的作者撰写,除焦点官方账号外,观点仅代表作者本人,不代表焦点立场。
