融创环球中心38亿元ABS已获上交所受理
焦点财经Focus 2021-07-12 10:27:20
用手机看
扫描到手机,新闻随时看
扫一扫,用手机看文章
更加方便分享给朋友
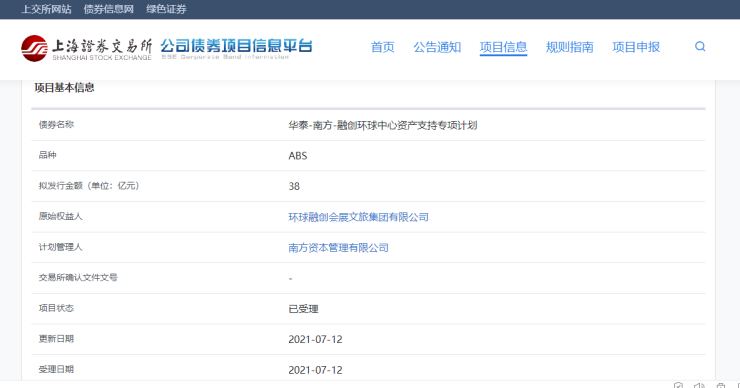
焦点财经讯 耿宸斐 7月12日,据上交所消息,“华泰-南方-融创环球中心资产支持专项计划”获受理。 债券品种为ABS,拟发行金额38亿元,原始权益人为环球融创会展文旅集团有限公司,计划管理人为南方资本管理有限公司。
焦点财经讯 耿宸斐 7月12日,据上交所消息,“华泰-南方-融创环球中心资产支持专项计划”获受理。
债券品种为ABS,拟发行金额38亿元,原始权益人为环球融创会展文旅集团有限公司,计划管理人为南方资本管理有限公司。

声明:本文由入驻焦点开放平台的作者撰写,除焦点官方账号外,观点仅代表作者本人,不代表焦点立场。
