恒泰程宏:成吉思汗的野心,宋徽宗的命丨潜鳄浮沉录⑬
扫描到手机,新闻随时看
扫一扫,用手机看文章
更加方便分享给朋友

作者|耿宸斐
出品|焦点财经
一文钱难倒英雄汉,程宏该是对这句话有了更为深刻的理解。
6月17日晚,中国执行信息公开网显示,恒泰因为一场借款合同纠纷被列为失信被执行人,执行法院为无锡市惠山区人民法院,涉及的借款本金为1470万元以及4541502元的利息。
法院的判决书显示,恒泰可以分期偿还借款,在被列为失信被执行人之前,程宏本应该偿还500万元,但程宏却没有还一分钱。对于一家全国百强房企而言,其资金窘境显而易见。而程宏也被限制高消费,
半个月后,恒泰又因为一起合同纠纷被列为被执行人,执行标的688849元。
曾经喊着“要做有野心的成吉思汗,不做守城的宋徽宗”的程宏,如今似乎连城都要守不住了。
阿奎利亚一举封神
1989年,23岁的程宏从安徽建筑工业学院(现安徽建筑大学)毕业后,留校任职,成了一名建筑设计专业的老师。同时,程宏还拿到了浙江美术学院(现中国美术学院)的硕士学位。
和许多创业者的想法相同,完成学业的程宏不甘于安稳的工作和生活,打算出去闯一闯。不久,程宏就辞去了老师的工作,下海经商。
1992年,程宏创办了合肥泰利美术装饰公司,从事建筑装饰的业务。充分发挥了自己专长的程宏在排名前列年就赚到了200万。但是程宏并不满足,1996年,程宏创办了恒泰集团,进入房地产行业。
2005年,在中国房地产踏入黄金时代的节点,程宏揽下了合肥北城的2000亩地。据知情人的说法,2000亩地的总价才十几个亿。但在当时,面对一片荒凉的北城,能有勇气投资下注的并没有几个。

事实证明,程宏的眼光的确毒辣。这块“巨无霸”地块造就了恒泰在安徽的地位,建起的阿奎利亚小区名震合肥,成了北城的排名前列个“万元盘”。此后,程宏称要在青岛、海南、武汉、唐山等全国十个城市复制阿奎利亚。
摸不到的千亿目标
根基未稳,盲目扩张,为恒泰埋下了一颗雷。
程宏是个有野心的人,他布局了云商产业城、房车特色小镇、物业、金融、教育、矿产等一系列产业,成为当时安徽的“隐形资本大鳄”。而恒泰的“阿奎利亚”却没能延续好运,不仅爆出行贿丑闻,还因为房产证、渗水等问题引发业主维权事件。
没能用再续“阿奎利亚”辉煌的程宏在2017年做了一个重要的决定:将恒泰的总部搬离安徽,挪至上海,并且在北京和深圳设立了副总部,在苏州、无锡、徐州、重庆、成都、西安、西宁、惠州、肇庆等重点城市发展,形成了“1+3+9+X”的战略布局,以上海总部为核心,布局长三角、粤港澳大湾区、京津冀三大沿海城市群和中西部省会城市,形成了9大区域、30城、40个项目的全国版图。据《2020年末中国房企总土储货值排行榜TOP100》显示,恒泰以1429.2亿的总货值位列第82名。
也是在2017年,程老板斗志昂扬,放出豪言壮语:3年冲击全国房企50强,5年达成1000亿目标。但是三年后的恒泰不论是在销售额还是在排位上,都还在原地踏步。
2020年,恒泰集团的销售额为221.7亿元,位列行业第98位。但这两个数据在2019年和2018年分别为203亿元、第99位,以及220.3亿元、第98位。
甚至,恒泰连“老家”安徽的阵地也要失守。在“2021安徽房地产开发企业综合实力50强”中,恒泰的排名为第20位,而在去年,则是第14位。

走到了十字路口
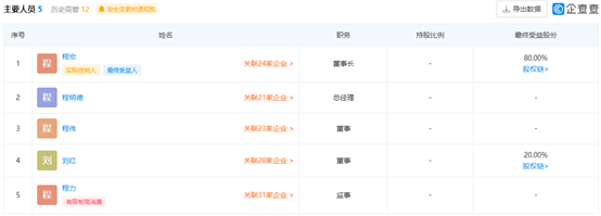
恒泰由程宏和刘红分别持股80%和20%,有恒泰员工在网上爆料,恒泰的高管中,有八成为家族成员。曾在万科、复地任职的前新城集团华南区域总经理周成辉在担任恒泰总裁一年后便辞职,有传闻称,便是因为家族式管理难以让他施展拳脚。

除了家族化管理的问题,企查查显示,恒泰的历史被执行人次数达35次,历史被执行总金额7329.07 万元。还涉及390起官司。不仅如此,恒泰还有多次欠税的记录。

天眼查、微博以及知乎上也有许多网友称,恒泰的商业承兑汇票无法正常兑付。而项目停工、交房延期也频频发生在各地的恒泰在建项目上。
其实,这次对程宏的限制高消费也并非首次,据企查查数据显示,这已经是程宏今年的第三次被限高。

伴随着这次危机,恒泰还撤出了四起对外投资:
连云港恒泰置业有限公司全部股权由合肥市秀荣置业有限公司接手,刘庆持股70%,王雷持股30%;
惠州大亚湾浩晔房产开发有限公司85%的股权由安徽宏智房地产开发有限公司接手,实际控制人变更为王萍,持股59.5%;
铜陵茂源投资有限责任公司全部股权由安徽庐淝地产有限公司接手,实际控制人变更为刘庆。刘庆与王雷各持股50%;
陕西正丰房地产开发有限公司全部股权由安徽璋璟置业有限公司接手,王雷持股70%,刘庆持股30%。

刘庆、王雷以及王萍与程宏,彼此之间存在着错综复杂的关联关系。
据查,刘庆为恒泰物业管理有限责任公司西安分公司的法定代表人,其任职的芝惠坊教育投资有限公司与陕西正丰房地产开发有限公司都与恒泰有关联。
王雷不仅是恒泰物业管理有限责任公司西宁分公司的法定代表人,其任职的西安恒祈顺业房地产开发有限公司、安徽鑫灏达贸易有限公司、青海筑城房地产开发有限公司的最终受益人均为程宏。
同样的,王萍任职的多家公司的最终受益人也是程宏。
在程宏的限高令生效前,程明德接替程宏,变成了恒泰新的法定代表人。是放手还是隐入幕后,是继续前行还是就此止步,程宏和恒泰都走到了十字路口。
声明:本文由入驻焦点开放平台的作者撰写,除焦点官方账号外,观点仅代表作者本人,不代表焦点立场。
